A Voltage or Current Dependent Resistor?
The article title is not a spelling test, but an attempt to explain the properties of the neglected varistor resistance parameter, R. Resistance, in this case, is the varistor voltage at a point in the V-I characteristic divided by the varistor current at that point.
A nominal 275 V rms, 14 mm diameter varistor will be used as an example. Manufacturers usually provide a single V-I graph of all the varistor characteristics of a given type. Figure 1 shows the extracted characteristic for a nominal 275 V rms varistor of 14 mm diameter. The characteristic 20% upward step at 1 mA is when the curve changes from the lowest component voltage to the highest component voltage. To form a single curve for the highest voltage component, the curve below 1 mA needs to be lifted by the value of the step. The characteristic normally ends at the rated single 8/20 impulse peak current level.
Turning Figure 1 into a line of data points involved several steps. An enlarged Figure 1 was printed and voltage values taken at the current vertical grid lines. Using a logarithmic reference, such logarithmic graph paper or the slider of a slide rule, enabled accurate measurement of the voltage values. Figure 1 shows a step increase of about 20% in the characteristic at 1 mA as the characteristic changes from minimum voltage (384 V @ 1 mA) characteristic to maximum voltage characteristic (474 V @ 1 mA).

The step was removed by increasing the lowest voltage characteristic by the multiplier of 474/384 = 1.23. Figure 2 shows the result of removing the step and plotting the recorded data points taken as described.

Varistor V-I curves depend on the test current waveform used, a classic case of “It ain’t what you do it’s the way that you do it.” Figure 3 shows the effects of DC, AC, pulse and impulse currents on the shape of the V-I characteristic. At low currents DC is a continuous condition whereas the AC current value will vary over the AC voltage cycle. At high currents the voltage will have a dependence on the impulse rate of current rise. At a given peak current for 1/5, 4/10 and 8/20 impulses, the 1/5 impulse will have the fastest di/dt and, as a result, the highest voltage. These effects need to be born in mind when working from the manufacturers published V-I curves.

Varistor Resistance R
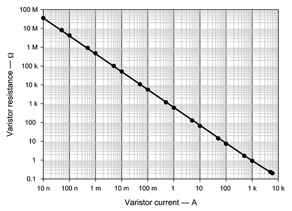
Dividing the voltage by the current of each data point gives the point resistance value. Plots of resistance versus voltage (Figure 4) or current (Figure 5) can then be made. Figure 4 does not show any particular relationship between resistance and voltage. Remarkably, Figure 5 shows nearly a straight-line relationship between resistance and current of the form r = 10^(A + B×log(i)), where r is the
resistance value, i is the current value and A and B are constants.


Resistance-current Relationship
A straight-line equation fit to the data points is r = 10^(2.8-0.95×log(i)), but the plot line shows a 16% error at the 5 kA and 6 kA points and the calculated resistance needs to be increased by 0.035 W. The resultant equation would then be r = 0.035+10^(2.8-0.95×log(i)) and is shown in Figure 6. Although the equation has less than 5% error over most of the current range, in the 5 A to 100 A region there is about a 10 % error. These errors could be caused by incorrect data point values and the error may not matter if only the high impulse current operation is important.

Using curve-fitting software resulted in the more complex equation of r = 5.793×(i)^-0.5 + (595.5 + 18×LN(i))/i – 1/(1.953E-7 + 871×((i)^2)), which reduces the maximum error to 1%. One needs to be careful in using such software as outside the data current range some crazy results may occur that causes circuit simulations to fail. The fit quality of this equation (multiplied by current) to the data point set is shown in Figure 7.

These results are not the full story as factors like di/dt have not been taken into account. Figure 8 shows the di/dt resistance effect on a 100 A peak current pulse initiating with di/dt applied values of 1.25A/µs, 12.5A/µs and 250A/µs. In Figure 8, the varistor resistance is normalised to the 12.5 A/µs value because the current rise time will be 8 µs and hence be similar to the virtual front time of an 8/20 impulse. Plotting di/dt on a logarithmic axis shows the measured values are in straight line with a relationship of RN = 0.9 + 0.4 × LN(di/dt), where RN is the resistance normalised to the 12.5 A/µs value. For the tested di/dt values the varistor R-I characteristic is modified by -9% and +12% depending on the di/dt limit values.

Varistor Clamping Voltage Test Current
The clamping voltage is normally measured with an 8/20 current waveshape, but the current amplitude used can differ between manufacturers. The IEC 61051-1:2018 seeks to standardise the test current by defining the 8/20 class current, which is 1/10 of the maximum peak current rating for 100 pulses of 8/20 current. A class current value of 1/10 translates to a repetitive rating of over 100,000 pulses of 8/20 current. Although manufacturers quote the single maximum peak 8/20 current rating and possibly the 2 or 15 impulse 8/20 current rating as well, the maximum peak 8/20 current rating for 100 impulses may only be determined from the derating curves for repetitive surge current. Examining several varistor data sheets with a single maximum peak 8/20 current rated 6 kA, 8/20 component showed 100 pulse ratings of 650 A to 800 A at 8/20, which would give 8/20 class currents between 65 A and 80 A. If manufacturers conformed to using IEC 61051-1:2018 class currents for clamping voltage determination, designers could work out the 100 pulses current rating as being ten times larger.
Rated Mains Transient 8/20 Current
IEC 60664-1 deals with insulation coordination for mains-powered equipment and defines overvoltage categories I to IV with rated 1.2/50 voltage impulse withstand levels for various mains distribution systems. IEC 62368-1 allocates these overvoltage categories to various locations in a building. Added to that IEC 61051-2 varistor standard translates these overvoltage categories into short-circuit currents resulting from a 1.2/50-8/20 surge generator. Table 1 summarises the results from these three standards.
| Standard |
Overvoltage category |
|||
| IEC 60664-1 | I | II | III | IV |
| 1.5 kV | 2.5 kV | 4 kV | 6 kV | |
| IEC 62368-1 | special mains with measures to reduce voltage transients | Pluggable items to building wiring | integral to building wiring | mains supply entry to building |
| IEC 61051-2 | 1.5 kV/750 A | 2.5 kV/1.25 kA | 4 kV/2 kA | |
Table 1: Impulse withstand voltages and currents for mains voltages between 150 V rms and 300 V rms
In testing a varistor with a 1.2/50-8/20 generator, the varistor voltage will reduce the delivered current. Using the 275 V rms varistor with a 1.2/50-8/20 generator set to 2.5 kV and 4.0 kV results in peak currents of 720 A and 1.4 kA. According to the data sheet maximum peak current derating characteristic, the rated number of impulses at these peak current levels are 80 and 50.
Varistor Term and Definition
The standard varistor definition tells us that the varistor is a voltage dependent resistor, not a current dependent resistor, yet clearly these results show it is a current dependent resistor. Article 3.3 of the latest IEC 61051-1:2018 states:
varistor
voltage dependent resistor (VDR)
component, whose conductance, at a given temperature range, increases rapidly with voltage within a given current range.
Note 1 to entry: Varistor is graphically symbolized as Z.
Note 2 to entry: This property is expressed by either of the following formulae:
U = CIβ (1)
or
I = AUγ (2)
Where:
- I is the current flowing through the varistor;
- U is the voltage applied across the varistor;
- β is the non-linearity current index (see 3.4);
- γ is the non-linearity voltage index (see 3.5);
- A and C are constants
Although the term, definition and circuit symbol are technically wrong, these items will not be discussed here. ITU-T Recommendation K.77, Characteristics of metal oxide varistors for the protection of telecommunication installations, solves the problem by using the different term of “metal oxide varistor” rather than “varistor” and gives a completely different definition:
“metal oxide varistor (MOV): non-linear resistor made of a sintered mixture of zinc oxide and other metal oxides whose resistance (R), at a given temperature, decreases rapidly with current (i), and increases with current rate (di/dt), i.e. R = f(i, di/dt).”
Examples of impulse di/dt influence on varistor voltage were given in Figures 3 and 8.
Using the Varistor Equation
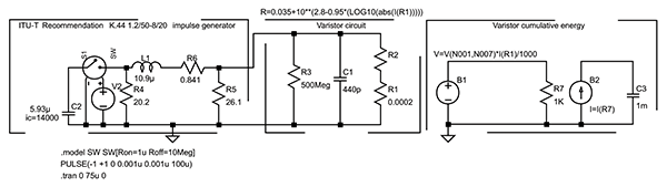
In spice simulation software it is possible to make a fixed resistor into a variable resistor controlled by a function that is dependent on another quantity. We have seen that the varistor resistance is dependent on the current through it and Figure 9 shows the simulation of a varistor connected to a 1.2/50-8/20 impulse generator. The 1.2/50-8/20 impulse generator circuit is reproduced from ITU-T Recommendation K.44. The varistor circuit consists of varistor resistance R2, controlled by the equation at the diagram top, which, in turn, is dependent on the current in series current-sensing resistor R1. Parallel elements representing varistor capacitance, C1, and insulation resistance, R3 are included. The cumulative energy circuit is an add-on to determine the varistor energy. Voltage source, B1, drives resistor, R7, with the product of the varistor voltage, V(N001, N007), and current, I(R1), divided by 1000. Current source, B2, drives the integration capacitor, C3, with the current in resistor R7. Circuit values are dimensioned such that each 1 mV of capacitor C3 voltage represents 1 J of energy.

Figure 10 shows how the Figure 9 varistor voltage varies from positive to negative during the impulse and likewise for the current.

Figure 11 shows that the varistor accumulates energy in two steps; in the positive polarity the step is 107 J and in the negative polarity a further 10 J is added making 117 J in total.

This has been a simple example; the real benefit of an accurate varistor model is when more complex circuits are analyzed. For example, the addition of two more varistors in parallel with the single varistor of Figure 9. When three similar varistors are connected in parallel the lowest voltage one will take most current, set in this case to the maximum single 8/20 rated current of 6.0 kA. Table 2 shows what the individual peak currents and energies would be for three varistors that have the highest, nominal and lowest voltages of a selection. An alternative analytical approach would be to work to a maximum energy criterion as the lowest voltage varistor would develop less energy than the highest voltage varistor at the same rated peak current.
| Tolerance % |
Peak currents kA |
Total current kA |
Energies J |
| ±10 | 6.0, 3.7, 1.8 | 11.5 | 118, 61, 25 |
| ±5 | 6.0, 4.7, 3.7 | 14.4 | 117, 82, 57 |
Table 2: Current and energy values for three varistors with maximum, nominal and minimum voltages
Summary
After years of being taught a varistor is a voltage dependent resistor, it turns out to be actually a current dependent resistor with a well-defined resistance-current relationship. Whether the standards makers rewrite their varistor definitions to comprehend this fact remains to be seen. For engineers, the varistor resistance-current equation can be useful in tolerancing circuits containing multiple surge protective components.
Acknowledgement
Many thanks go to Zhang Nanfa, for mentorship on the “R” in varistor.
