This article is intended to provide an understanding of the requirements for qualification of either an open area test site (OATS), semi anechoic chamber, or fully anechoic room for use in the measurement of radiated disturbances in the frequency range of 30 MHz to 1 GHz. This is referred to as normalized site attenuation (NSA) testing, as described in CISPR 16‑1‑4. Qualification of these compliance test sites in the frequency range from 1‑18 GHz, commonly referred to as site voltage standing wave ratio (sVSWR) testing, will be covered in a future article.
What is CISPR?
In order to provide the technical parameters for verification of these compliance test sites, let’s review a few of the fundamentals of the EMC standard process.
CISPR is the abbreviation for the Comité International Spécial des Perturbations Radioélectriques (English translation: International Special Committee on Radio Interference), which is a part of the International Electrotechnical Commission (IEC). As most of us in the EMC industry know, the IEC is an international organization, of which the U.S. is a member, with committees and subcommittees that focus on the research and development of standards that cover areas like Product Safety, EMC and mechanical hazards. These standards are often adopted by the European Union in the form of EN (the abbreviation for the French words “Norme European,” or European Standard), as well as in other jurisdictions around the world.
CISPR concentrates on drafting standards for controlling electromagnetic interference in electrical and electronic devices that can interfere with broadcasting frequency bands. These bands are regulated worldwide and include TV, AM and FM radio, as well as ISM, Wi‑Fi, Bluetooth and other transmission bands.
IEC and CISPR standards are often divided into two categories, “Guideline” and “Product Specific.” Product Specific standards are used to evaluate and confirm that a product from a given product category is compliant with a specific set of requirements. Guideline standards are intended for use by a product committee as a basic framework to establish the requirements for Product Specific standards.
What is CISPR 16‑1‑4?
CISPR 16, entitled “Specification for radio disturbance and immunity measuring apparatus and methods,” is divided into multiple parts. Part 2‑3 describes methods of measurement of electromagnetic disturbances, Part 3 provides radio disturbance information, and Part 4 covers uncertainties, statistics and limit modeling.
CISPR 16‑1‑4:2019 is the most recently published iteration of the standard. It is entitled “Radio disturbance and immunity measuring apparatus – Antennas and test sites for radiated disturbance measurements” and is “a basic EMC publication for use by product committees of the IEC.” It is intended to be used by product standard committees to determine the applicability of the EMC standard to their products of interest and in drafting their requirements.
As described in the Scope of the standard, CISPR 16‑1‑4 “specifies the characteristics and performance of equipment for the measurement of radiated disturbances in the frequency range 9 kHz to 18 GHz.” Specifically, it focuses on antennas and test sites. CISPR 16‑1‑4 is referenced almost exclusively in EMC product standards for the qualification of test sites and antenna characteristics used in the measurement of those products.
For the purposes of this article, we will review the requirements for test sites in the range from 30 MHz to 1 GHz, and the qualifying requirements and verification methods that allow the use of these sites for electromagnetic disturbance measurement.
What is a Compliance Test Site?
A compliance test site is a testing environment that assures valid, reproduceable measurement results of the radio frequency (RF) disturbance field strengths generated by the device being tested. Many of our readers are probably familiar with an OATS, a semi anechoic chamber (SAC) and a fully anechoic room (FAR). Each of these test sites is defined in CISPR 16‑1‑4 and the standard provides both mechanical descriptions of the sites and the verification process used to ensure that these sites provide reproduceable, valid results from RF disturbance measurements.
The most basic and fundamental requirement of any of these sites is the establishment of a “quiet zone” or “equipment under test (EUT) volume” on the OATS, or within a test chamber that will contain an EUT and that will produce results that closely align with a theoretical “ideal open area test site.” An ideal OATS is one having a perfectly flat, perfectly conducting ground plane of infinite area, with no reflecting objects except the ground plane. Since it is impossible in reality to produce this ideal OATS, CISPR 16‑1‑4 provides a method to evaluate OATS, SAC and FAR sites so that they approximate it in the area that encompasses the EUT as closely as possible. This quiet zone or EUT volume is characterized as a “cylinder defined by the EUT boundary diameter and height, encompassing the EUT, cable racks, and 1.6m of cable length” for measurement in the frequency range from 30 MHz‑1 GHz.
Since the verification procedure is similar between an OATS and SAC, we will take a moment to describe each.
What is an OATS?
As stated in CISPR 16‑1‑4, an OATS is “an area characterized by cleared level terrain and with the presence of a conducting ground plane.” An OATS should be free of obstructions, including buildings, electric lines, fences and trees, and should have no underground pipes or cables except those necessary to power the site. If the site is used year‑round, weather protection should be used to protect the EUT and the field strength measuring antenna. This protection often takes the form of materials that are RF transparent (tents, wooden enclosures, etc.).
An obstruction‑free area is required around the EUT and field‑strength measuring antenna. The antenna is mounted on an antenna mast that is also constructed of RF transparent material and tall enough to allow the antenna to reach a height of 4 meters.
Since it is impractical to judge the magnitude of reflectivity and scattering of RF fields from surrounding objects, the standard provides minimum dimensions for the construction of the site. The size and shape of the obstruction free area is dependent on:
- Measurement distance: d
- The presence of a turntable
The EUT can emit directional fields of RF disturbance, so the only way to effectively measure the disturbance level is to rotate the unit 360 degrees. In addition, the reflectivity of the ground plane will reflect downward directional disturbances, allowing the antenna to measure the reflected field strength. Since the angle of reflection as well as the direct emission of the directional focused RF disturbance vertically can vary, the ability to adjust the height of the antenna up to 4m in height helps to ensure that the maximized emission emanating from the EUT can be captured.
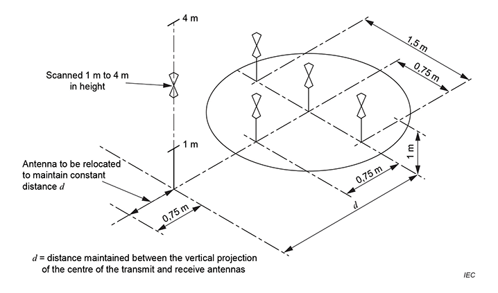
In the absence of a turntable, an OATS would be round in shape, requiring the antenna to be rotated around the EUT at a specified measurement distance. Figure 1 shows a diagram of an obstruction‑free area with a stationary EUT. Note that the minimum distance of the area boundary is 1.5 times the measurement distance d (often 3, 5, or 10m).

With the addition of the turntable, the EUT can be rotated, allowing for an obstruction‑free area in the shape of an ellipse. In this case, the length of the ellipse is 2 times the measuring distance d, with ½ d between both the test sample/antenna and the boundary behind them. Figure 2 shows an obstruction‑free area of a test site with a turntable.

The ambient RF levels of an OATS must be sufficiently low relative to the levels of the disturbance measurements to be performed. OATS sites are classified for the quality of ambient noise in the following manner:
- The ambient emissions are 6 dB or more below the measurement levels;
- Some ambient emissions are within 6 db of the measurement levels;
- Some ambient emissions are above measurement levels but are either spaced long in time between transmission to allow for a measurement to be made (aperiodic) or are continuous only on limited identifiable frequencies (i.e., FM bands);
- The ambient levels are above the measurement levels over a large portion of the measurement frequency range continually transmitting.
Quality classification d is unacceptable. With the increasing use of cellular towers, Wi‑Fi hotspots, and other transmission sources, most OATS need to be located in remote areas.
Other Ground‑Plane Test Sites
As an alternative to OATS, many manufacturers have installed SACs and FARs to allow for year‑round testing in areas with high RF ambient noise.
A shielded enclosure is often constructed of steel, and includes a door, honeycombed ventilation openings, electrical power filters, and pipe penetrations/bulkhead panels that contain any RF generated signals inside the enclosure and that block any external ambient RF noise. Most shielded enclosures have an attenuation value between the inside and outside of the enclosure of 90‑110 dB across a range of 15 kHz to 18 GHz. The bulkhead panels allow for connection of RF cables to antennas within the enclosure, vents allow for air flow, and pipe penetrations allow for cabling required to support equipment or fiber lines, and water or other substances for fire suppression.
The RF shielded enclosure is usually indoors, thereby protected from the weather while also eliminating concerns about ambient RF emissions.
A SAC is simply a shielded enclosure with walls and ceilings lined with ferrite tile, as well as absorber cones made of polyurethane, polystyrene or polypropylene material doped with a combination of fire retardant and RF absorptive materials. The floor is left bare to provide the reflective ground plane for NSA measurements and RF disturbance measurements in the range of 30 MHz to 1 GHz. For measurements over 1GHz, ferrite tile and absorber cones are placed on the floor between the EUT and the measuring antenna in a pattern to maximize RF disturbance measurements. These SACs can be constructed to allow for measurement distances of 3m, 5m or 10m as required by the product standard. As the size of the chamber grows, so does the cost of construction.
A FAR is a shielded enclosure with absorber on the ceiling, the floor and all walls. It is intended to simulate a free space environment so that only the direct ray waves transmitted intentionally or unintentionally from the EUT reach the receiving antenna. All indirect and reflected ray waves are reduced by the absorber on the walls, ceiling and floor. In a FAR, the equipment is elevated to place the product and its associated quiet zone in the center of the absorber lined walls, floor and ceiling.
Test Site Validation Using the NSA Method
Test site validation is determined using the NSA method. Site attenuation is defined in paragraph 3.1.26 as the “minimum site insertion loss measured between two polarization‑matched antennas located at a test site when one antenna is moved vertically over a specified height range and the other is set at a fixed height.”
The fixed height antenna is located in the center of an unprotected OATS and the variable height antenna is located at the specified measurement distance (3m for example) from the turntable center on an antenna mast, adjustable up to a height of 4m.
Table 1 shows the site validation methods applicable for OATS‑based, SAC and FAR site types.
| Test site type | Applicability of site validation methods | ||
| Tuned dipoles NSA |
Broadband antennas NSA |
Broadband antennas RSM |
|
| OATS | Yes | Yes | Yes |
| OATS with weather protection | No | Yes | Yes |
| SAC | No | Yes | Yes |
| FAR | No | Yes | Yes |
Table 1: Site validation methods applicable for OATS, OATS‑based, SAC and FAR site types
Used with broadband antennas, the NSA method is the most common method of site validation. In fact, the NSA method with tuned dipoles is not specifically described in section 6.4 of the standard, “Test Site Validations,” but can be used for the purposes of the document. (The standard also refers to other documents for NSA tables for tuned dipoles that are not discussed in this article.)
The site validation methods listed in Table 1 that show “Yes” indications are interchangeable vertically, so no one method is required and any one method is acceptable. These measures “provide a measure of uniformity of the validated test volume” (quiet zone) by comparing the ideal or theoretical site attenuation between the transmit and receive antenna with the actual measured site attenuation across the frequency range.
The procedure is simple, and is performed using two co‑polarized antennas, or both antennas oriented in the vertical then horizontal position. Site attenuation (SA) is obtained by measuring the difference between the source voltage level Vi, which is applied to the transmit antenna located at a fixed height above the turn table, and the maximum received voltage VR as measured on the terminals of the receive antenna during the variation of antenna height between 1 and 4 meters.
The voltage measurements are performed in a 50 ohm system. To reduce impedance mismatch at either the output of the signal source or the input of the measuring receiver (which could result in errors in measurement accuracy), it is recommended that a 10 dB attenuator be placed at the transmit and receive antenna during both direct and site voltage measurements (essentially, the entire verification procedure).
Once these values are obtained, they are compared to the site attenuation characteristics obtained at an ideal OATS or that measured for site validations. The result of the comparison is the site attenuation deviation, or ∆AS in dB. See Equation 1 below:
∆AS = VDIRECT ‑ VSITE – FaT – FaR – AN
Where:
‑‑∆AS is the SA deviation
‑‑FaT is the transmit antenna factor
‑‑FaR is the receive antenna factor
‑‑AN is the theoretical NSA (as provided in table 2 of the standard)
‑‑VDIRECT is a direct measurement of the voltage value at the terminal of the transmit antenna
‑‑VSITE is the measurement of the voltage on the terminal of the receive antenna
VDIRECT can also be visualized as the output of the signal generator measured by the receiver. So the procedure is simple. You link the output of the signal generator to the input of the receiver by connecting the two cables with a low loss connector, and measure the direct voltage generated.
You then repeat the measurement with the cables connected to the broadband antennas separated from each other at the test distance, varying the height of the receive antenna from 1m to 4m to maximize the measured voltage and to compensate for the antenna factors of both antennas. The cable losses are nullified since they are used in both measurements.
The spacing of log periodic antennas is measured from the projection on the ground plane of the mid‑point of the longitudinal axis of each antenna. The spacing of the biconical antennas is measured from the element centerline axis at the feedpoint. Figure 3 shows a representation of the fixed and variable height antennas. Consideration should be given to provide sufficient separation between the antenna and the mast body to prevent undue influence on the performance of the receiving antenna.

The calculated site attenuation deviation ∆AS shall not be more than ±4 dB. The standard outlines the procedure for both discrete frequency selection (paragraph 6.7.1) and swept frequency testing (paragraph 6.7.2). However, the sequence of testing of VDirect and Vsite are the same. For both methods, it should be noted that NSA values for frequencies between those listed in Table 1 can be obtained using linear extrapolation between the tabulated values.
Due to size constraints the theoretical normalized site attenuation table called out as Table 2 in CISPR 16‑1‑4:2019 is not shown here.
Validation of a Weather-Protection-Enclosed OATS or a SAC
As previously noted, an OATS without weather protection or an enclosing structure is simply tested with the transmit antenna located at height h1 (usually 1m) in the center of the turntable. However, within paragraph 6.3.1, the standard states:
“Whenever construction material encloses a ground‑plane test site, it is possible that the results of a validation measurement at a single location, as specified on 6.7, are not adequate to show acceptability of such an alternative site.”
The standard further explains in paragraph 6.8 that the single point measurement is insufficient to pick up possible reflections from the construction material surrounding an OATS turntable, or the walls and ceiling of a SAC, even when lined with absorbing ferrite tile and cones. For this reason, a “test volume” is defined as the volume traced out by the largest EUT or system as it is rotated 360 degrees on the turntable. To evaluate horizontal and vertical positions, a maximum of 20 SA measurements may be required.
These 20 measurement positions would include the center of the turntable, the forward, left, right and rear edges of the turntable (5 transmit antenna locations), with horizontal and vertical polarizations (2 polarizations) and 2 heights of the transmit antenna (1 and 1.5m for horizontal polarization and 1m and 2m for vertical polarization) for each transmit antenna location. Figure 4 shows the antenna positions for vertical polarization validation measurements. Figure 5 shows antenna positions for horizontal validation measurements.


As mentioned previously, broadband antennas are used for this testing, and measurement distances are calculated with respect to the centers of the antennas. So, as the transmit antenna is moved forward, the receive antenna is moved as well to maintain the measurement distance specified. For SACs, when testing the periphery of the “test volume,” a minimum of 25cm spacing should be maintained between the antenna tip and the closest absorber cone tip, or at least 1m between the antenna midpoint and the closest absorber tip. In addition, for vertical polarization testing, the lower tip of the antenna should be greater than 25cm from the floor to prevent coupling to the ground plane, even if this means the center of the antenna is slightly higher than the specified 1m height.
For weather enclosed sites, the edges of the turntable are usually selected as the “test volume” diameter, and an arbitrary height is assigned based on the projected EUT sizes. This selection is necessary prior to SAC design to ensure proper separation between the turntable and the absorber tips, and to properly model the chamber for size and absorber placement location to ensure a “test volume” that will meet the maximum deviation of ± 4 dB. The selected test volume also guarantees that, if the EUT fits within the turntable diameter and is of a height less than that projected, it is entirely enclosed within the test volume and repeatable data can be recorded during testing. Therefore, the turntable size is also critical and needs to be selected prior to SAC design, usually during the procurement quotation process. Figure 6 shows an illustration of the test volume.

The standard allows for a smaller amount of measurements if certain conditions are met. For example, the rear position measurements for vertical and horizontal polarization can be omitted if the closest construction or absorbing materials are more than 1m away from the rear boundary of the test volume. Other allowances can be made for height restricted EUTs and smaller test volumes. The standard also specifies the transmit antenna height variance during validation testing if the height of the EUT exceeds 2m.
At the same time, the standard specifies that, if the EUT does not exceed a volume of 1m depth, 1.5m width, and 1.5m height, and the periphery of the test volume is greater than 1m from the closest material that may cause undesirable reflection, then transmit antennas can be placed at a reduced distance from the center (see Figures 7 and 8 on page 48 for illustrations of vertical and horizontal polarization respectively).


Possible Causes for Exceeding Site Acceptability Limits
CISPR 16‑1‑4 recommends that the following items be rechecked if the site deviation ∆AS exceeds the ± 4 dB requirement:
- Measurement procedure;
- Antenna factors accuracy;
- Drift in the signal source;
- Accuracy of the receiver or spectrum analyzer input attenuator; and
- Measurement device readings.
Annex F of the standard describes errors that can occur in NSA measurement. If no errors are found, it is likely that the site is at fault and should be investigated. Key items recommended by the standard include:
- Ground plane construction inadequacies;
- Undesired reflections from the perimeter of the site or from all‑weather cover;
- Poor or no continuity between the turntable and the surrounding ground plane when the turntable is flush mounted and conductive;
- Thickness of any dielectric ground plane covers; and
- Openings in the ground plane like trap door seams.
One Final Important Note
Although we have not covered FAR site verification testing, there has been a change to the recent 2019 version of the standard that will impact FAR construction and is worth mentioning here.
As described earlier in this article, SAC test volume is that volume traced out by the EUT rotated in a 360‑degree arc. So there is no limitation to the size of the test volume based upon measurement distance, and the test volume is acceptable if the SA deviation is within the ± 4 dB criteria.
However, the 2019 version of the standard includes new requirements for FAR site validation, as shown in Table 2.
| Maximum diameter dmax and height hmax of the test volume m |
Test distance dnominal m |
| 1,5 | 3,0 |
| 2,5 | 5,0 |
| 5,0 | 10,0 |
Table 2: Maximum dimensions of test volume versus test distance
This table limits the size of the test volume diameter and height dependent on the test measurement distance. This limitation did not exist in the previous standard publication and we will delve into this further in future articles. In the meantime, if you wish to have a test volume of greater than 1.5m diameter, for example, then you must construct a 5m chamber, as a 3m chamber will not meet this criteria. Again, this is only for FAR chambers and does not impact SAC and OATS requirements.
The author thanks the International Electrotechnical Commission (IEC) for permission to reproduce Information from its International Standards. All such extracts are copyright of IEC, Geneva, Switzerland. All rights reserved. Further information on the IEC is available from http://www.iec.ch. IEC has no responsibility for the placement and context in which the extracts and contents are reproduced by the author, nor is IEC in any way responsible for the other content or accuracy therein.
